
硅pu篮球场施工前水泥基础处理方式
硅pu篮球场施工对基础的要求比透气型塑胶跑道水泥基础要求更高,那么在实际的施工过程中需要对基础做那些处理呢?

透气型塑胶跑道施工底层人工处理方式
田径场地塑胶跑道施工,不是所以地方都能使用摊铺机,对于一些边边角角,需要纯手工进行摊铺,对于其处理方式,我们做了归纳。

塑胶跑道施工基础处理有那些程序?
塑胶跑道施工面层铺设之前需要对基础进行处理,对于水泥基础有那些处理的事项,一起来了解一下。

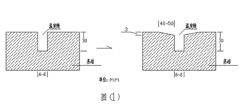
篮球场施工水泥基础有伸缩缝,而沥青基础没有?
篮球场施工常见的基础有水泥基础和沥青基础,在检查基础时会发现,沥青基础非常完整,而水泥基础通常5-7米会有一条伸缩缝,这是什么原因呢?

木地板运动场地验收技术标准
木地板运动场地验收技术标准包括:材种,产品性能要求,场地外观,平整度,涂层性能,通风设施。

天然草足球场施工验收技术标准
足球场施工选的天然草是非常少的一部分,一方面是成本比较高,另一方面维护成本也会相对较高,一遍只会在一些高端的体育中心或者高校才能看到标准的天然草足球场,那它的验收技术标准是怎么样的呢?

人造运动草坪验收技术标准
体育用人造草的技术要求,如:规格尺寸及偏差、外观、物理机械性能渗水性、阻燃性、摩擦系数、环保要求、耐酸碱性、耐有机物性、耐光化性、草丝磨损量等要符合国家标准GB/T20394—2006规定的有关要求。

塑胶球场施工验收技术标准
塑胶球场施工包括人造草足球场、篮球场、网球场、排球场、羽毛球场等,对于这些球场的技术验收标准,我们做了整理。

塑胶跑道施工验收技术标准
无论是使用单位还是塑胶跑道施工方,对于验收技术标准都非常关注,而随着新国标GB36246-2018的出台,技术标准又是怎么样的,带你了解。

在硅pu塑胶篮球场施工中涂层过程需要注意什么?
硅pu塑胶篮球场施工是一层一层披挂,其中中涂层是所有工序中最省时间的,但是如果想要高质量地完成硅PU塑胶蓝球场施工,有很多事项是需要注意。

塑胶跑道施工加速排除基础水分的方法
水泥基础中的水分含量必须达到标准后才能进行塑胶跑道施工,加速排除水泥基础中的水分,就需要对于塑胶跑道进行人工干预。

塑胶跑道施工出现色差该如何解决?
要想解决塑胶跑道施工过程出现的色差问题,就需要了解产生色差的原因,对其产生的原因和防止措施,我们将做详细解释。

塑胶跑道施工四个专业化问题
塑胶跑道施工的四个专业化问题,我们来了解一下。

塑胶篮球场施工需要注意的三个方面
塑胶篮球场施工是严谨科学的项目,但在这个过程有些方面很容易被忽视,这些细节没有处理好,不仅影响塑胶篮球场质量,更关乎到施工人员的安全,这里宝力体育介绍三个容易被忽视的方面。

塑胶跑道施工常见的三种面层
我们熟悉的有透气型,混合型,预制型等,然跑道的面层也有不同的形态,并且性能也有着区别,我们将介绍三种面层的优缺点。

龙游县职业教育中心400米标准透气型塑胶跑道建设
作为塑胶跑道建设公司,龙游县职业教育中心的运动场项目,就是一个标志性代表塑胶跑道建设公司实力的工程。

塑胶球场建设公司案例-浙江天圣控股集团
塑胶球场建设公司宝力体育为浙江天圣控股集团建设了篮球场和网球场,并且提供了配套的围网和照明灯。

浙江蓝天环保塑胶篮球场维修
塑胶篮球场维修找宝力体育,一家专业从事塑胶场地勘测、设计、施工、维护以及翻新一站式施工企业,19年行业经验,浙江省有且仅有资质全面的塑胶场地建设公司,这不,企事业单位浙江蓝天环保高科技股份有限公司找上了宝力。

透气型塑胶跑道建设公司宝力体育温州森马协和国际学校田径场项目
一所学校的形象,健全的基础设施,需要宝力体育19年行业经验的塑胶跑道建设公司来装扮,一起来瞧一瞧宝力体育建设的温州森马协和国际学校塑胶跑道。

篮球场施工哪个公司好?
篮球场施工哪个公司好,杭州宝力体育建设的篮球场地超过3000片,行业内经验相当丰富,施工的宁波理工学院篮球场,5年依旧亮丽如新。
联系方式Contact us
地址:杭州市西湖区三墩镇池华街330号丰盛九玺
网址:zlftjs.com
电话:18072961741
传真:0571-88053696
邮编:310012